一、高低周試驗描述
高低周試驗測試方法嚴格遵循ASTM測試方法E466、E606,國標GB/T 26077和ISO 12106、1099。
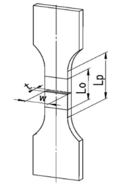
二、關于試樣
對于高低周試樣加工需要較高的精度,材料的均勻度和表面處理會直接影響試驗結果,在一系列的標準中都有對試樣的描述。根據要進行的試驗類型以及連接到測試系統的夾具、拉桿和其他試樣定位裝置的類型選擇試樣形狀,下圖為高低周試驗模塊支持試樣類型。


試樣形狀:棒形和板形
三、關于試驗設備:電液伺服疲勞試驗機

規格型號:HDT254B、HDT504B、HDT105B、HDT255B
最大試驗力(kN):25、50、100、250
試驗力測量范圍:2%~100%FS
試驗力示值精度:0.5%
作動器行程(mm):150(±75)
位移測量分辨率:0.001
試驗頻率(Hz):50

引伸計:epsilon

同軸度調節環


同軸度檢定儀(選配)

試驗夾具:液壓V型夾具,液壓頂桿夾具,防屈曲裝置

環境箱或高溫爐(選配)

試驗軟件:萬測自主研發TestCenter軟件含壽命統計分析
四、關于高低周試驗
1.控制試驗


2.試驗條件


3.試驗過程


五、試驗數據查詢及分析
1.查詢


2.曲線分析



3.統計報告
數據分析后,選擇相關有效數據生成專業的高低周試驗報告。


